[Home] [The Sterling Barrel] [Standard Components] [Button Contact] [Custom Automatic] [Miniature Barrels] [Medium Barrels] [Medium Delta] [Large Capacity] [Quality Components] [Aqueous Cleaning] [Baskets] [Pricelist] [Distributors] [Custom Barrels] [Parts Lists] [Dimensional Drawings] [Automatic Barrel Spec Sheet]

Medium Barrels with Delta Cylinders

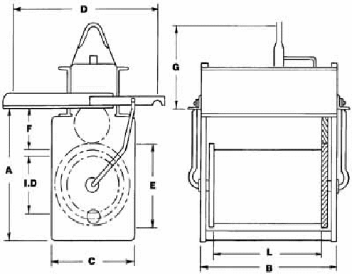
The model 8512 shown here with a delta cylinder (also shown with flat panel cylinder, below) is excellent for part mixing action and solution transfer. This design improves the distribution of plated metals. The delta cylinder can be ordered on models 8512 and 918. Both models come standard with flat panel cylinders.

page80302
sterling05

®

page80102
page80202

Model

66

612

8512

918

1018

1024

Cylinder Size I.D. x L (in.)

6 x 6

6 x 12

9 x 12

9 x 18

10 x 18

10 x 24

Approx. No Load Weight (lbs.)

23

25

33

38

45

57

A

13 3/8

13 3/8

157/8

157/8

195/8

195/8

B

11

15

15

21

21

27

C

9

9

113/8

113/8

115/8

115/8

D Max.

155/8

155/8

195/8

195/8

195/8

195/8

E Over Clamps

12¼

12¼

143/4

143/4

F* Cathode Rod To Cylinder

41/8

41/8

41/8

41/8

41/8

41/8

G

Speed (RPM) ** Motor RPM

28

6.0

6.0

4.6

4.6

3.6

3.6

57

12.5

12.5

9.5

9.5

7.5

7.5

94

18.0

18.0

13.7

13.7

10.8

10.8

Load Size 1/3 Full (cu. in)

56

112

190

285

426

570

page70302